
Volvo is working on a steering system that can switch from left-hand-drive to right-hand-drive and back again, in a bid to slash development costs.
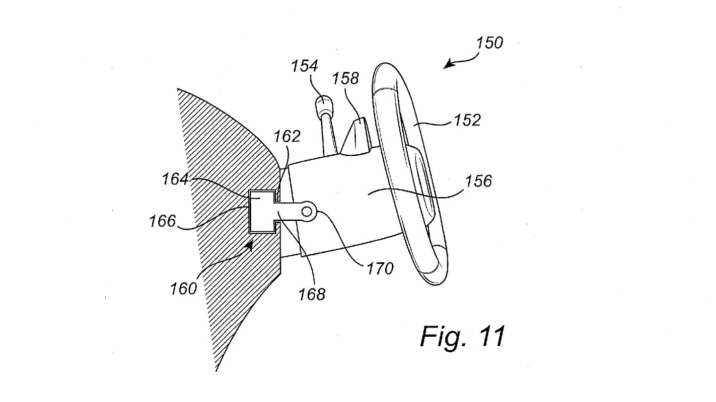
Designs for the sliding steer-by-wire controls were submitted to a United States patent office last month and list details for a wheel that can move back and forth across the cabin for both left-hand-drive and right-hand-drive applications.

Not only would the sliding steering system negate the need to produce cars in left- and right-hand-drive, it also has implications for cars travelling between countries, too.
With Volvo’s would-be steering system, cars could freely travel over borders and easily swap the steering wheel to the correct side upon entry.
According to the filing, the system will also become useful when autonomous driving becomes commonplace.
Once the autonomous driving systems take control of the car, the wheel could be moved out of the way for unimpeded relaxation space.

Through the patent, Volvo suggests that either the entire dash will contain a full-width screen for driving information, or the sliding wheel will be accompanied by an attached instrument cluster.
Volvo’s patented gift to the world: the seat belt
As for the pedals, it seems as though they’ll be replaced with pressure-sensitive floor panels that will provide accelerator and braking inputs – though the full picture is still unclear.

The patent also shows the possibility of a central driving position, which would likely mean a cabin-wide front bench in place of the two front seats.
Volvo isn’t the first manufacturer to suggest doing away with a steering wheel in autonomous vehicles. The BMW Vision Next 100 concept features a fold-away steering wheel and neither is Volvo the first to develop a sliding steering wheel – which already exists in a Unimog.
Volvo’s design is, however, the neatest and most elegant example yet.
Swapping the steering wheel from one side of the other would be far easier than requiring an entire country to start driving on the other side of the road, as revealed in this amazing piece of footage from Sweden (Volvo’s country of origin) in 1967.
As more and more carmakers move away from right-hand-drive, Volvo’s drive-by-wire system could mean that markets like Australia won’t be overlooked when it comes to cool new cars from the company.
Volvo’s effort is a good idea in principle which could see use in a number of applications, though whether it passes stringent government regulations and its ultimate street-use certification is another story.



