HOLD on to your hardhats, because Mazda looks set to jam not one, not two, but three compressors under the lid of its workhorse ute.
A patent lodged by Mazda has potentially let slip the automaker’s intentions for its next-generation BT-50, revealing a sophisticated twin-turbo, electrically-supercharged engine is in the Japanese brand’s future powertrain pipeline.
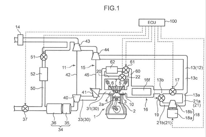
The patent, lodged with the US Patent and Trademark Office, doesn’t explicitly name the BT-50 but describes the engine in surprising detail.

And there’s only one diesel-engined non-truck in Mazda’s product portfolio that mounts its engine in a north-south orientation – the BT-50. Given the specifics mentioned, it’s highly unlikely that this engine is destined for anything else.

However Mazda’s strategy of adding an electrically-driven supercharger to the mix goes a step further in improving diesel driveability.
The patent details that the electric supercharger serves to generate boost when the first and second turbochargers – which rely on exhaust gas flow to spool up – aren’t spinning fast enough, such as when driving at low rpm.
It’s a similar ‘torque fill’ strategy as employed by the Audi SQ7’s diesel V8, which also teams an electric supercharger with a pair of conventional turbos.
At higher rpm a set of bypass valves take the electric supercharger out of play, with the twin turbos providing full boost. A liquid-to-air intercooler then chills the charge before it’s combusted by the engine, with exhaust gas then flowing through both turbochargers and a sizable diesel particulate filter.
When we’ll see it in a Mazda vehicle remains to be seen. The next-generation BT-50 is due to supersede the current model in 2019, and will no longer share its ladder-framed bones with the Ford Ranger and instead move to the new Isuzu D-Max’s platform. Whether this clever triple-compressor diesel will arrive at the same time has yet to be confirmed.



